بالفيديو.. براءة إختراع من آبل تكشف عن ميزة تحمي آيفون القابل للطي من السقوط

0
1613

كشفت براءة اختراع حديثة أن هاتف آيفون القابل للطي الذي يُشاع منذ زمن أن شركة آبل تعتزم إطلاقه في المستقبل، سيدعم ميزة تجعله يُطوى تلقائيا بهدف حمايته من السقوط.

وتحمل براءة الاختراع، الموجودة حاليا على موقع الويب الخاص بمكتب الولايات المتحدة لبراءات الاختراع والعلامات التجارية USPTO، اسما طويلا جدا هو: “جهاز الشاشة الذاتية التراجع وتقنيات حماية الشاشة باستخدام اكتشاف السقوط”.




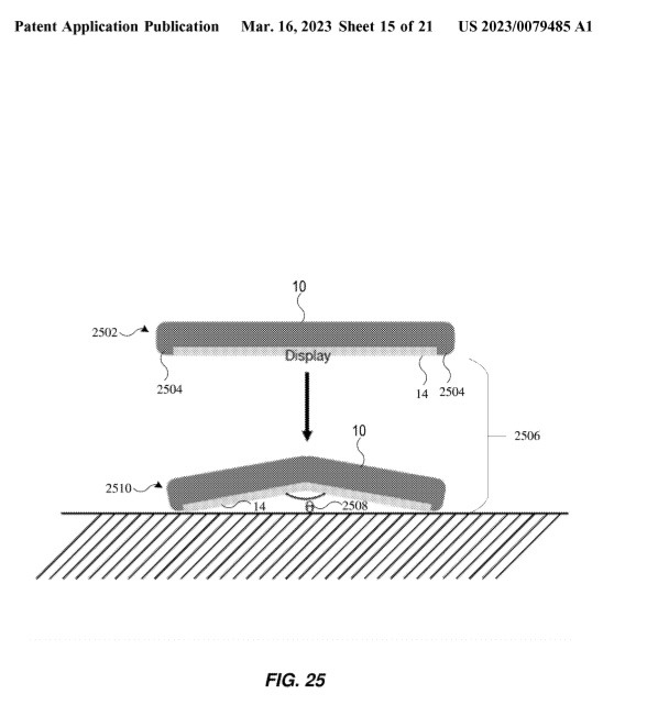
ومن الاسم، يبدو أن هدف آبل من براءة الاختراع هو تقليل الضرر على الشاشة، إذ قد يحتوي هاتف آيفون القابل للطي المرتقب على مستشعرات، مثل: مستشعر مقياس التسارع. وإذا اكتشفت المستشعرات أن جهاز آيفون يسقط، فسوف ترسل إشارة إلى “آلية القفل القابلة للتعديل إلكترونيًا” لإغلاق الهاتف بسرعة.

ويُلمِّح طلب براءة الاختراع إلى أن الآلية قد لا تُغلِق الهاتف بالكامل إذا كان آيفون قريبًا جدًا من الأرض مما يتركه مفتوحًا جزئيًا. ولكن هذا جيد، وفقًا لبراءة الاختراع، “إذ لا يزال لطي الشاشة بزاوية أقل من 180 درجة أن يوفر بعض الحماية”. فعلى أقل تقدير، سيكون التأثير في الجوانب بدلًا من الشاشة مباشرة.

وتكشف براءة الاختراع أيضًا أن آبل تريد العمل على المفصل، إذ قد يتكون هاتف آيفون القابل للطي من شاشتين منفصلتين تتصلان ببعضهما حين فتح الجهاز بدلًا من وجود مفصل عادي في المنتصف. لذلك، تنفصل الشاشة العلوية، حين إغلاق الهاتف، عن الجزء السفلي مما يساعد في الحماية.